Albert Cheung

162 POSTS0 COMMENTS
Albert is a senior editor of seekdevice.com. He has been engaged in writing for more than 5 years. He has extensive experience in mobile phones, laptops, digital cameras, and other trendy technology industries. Contact at [email protected]

Huawei Mate 40 series appearance has been confirmed

At the China Informatization 2020 Summit on August 7, Huawei's consumer business CEO Richard Yu said that Huawei Mate 40 will be released in September....

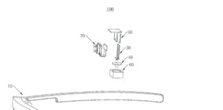
Huawei’s Upcoming Smart Glasses Has A Pop-up/Rotating Camera

In the matter of technology, the competition is getting harder, day by day. Recently, we got some new leaks regarding a new Huawei's product....

Xiaomi foldable phone patent: front and rear cameras work together at the same time

The camera has been one of the important hardware of smartphones. In order to meet the shooting needs of users, mobile phone manufacturers have...

Xiaomi Mi 11 Teardown

Xiaomi officially released the Xiaomi Mi 11 flagship phone yesterday. To further explore the inside of the phone, Aiao Technology shared a teardown video...

Redmi Note 9 Teardown

Yesterday, Xiaomi officially released three mobile phones: Redmi Note 9 4G, Redmi Note 9 5G, and Redmi Note 9 Pro 5G. Today, the well-known...

iPhone 12 Pro Max Teardown

Apple iPhone 12 Pro Max will not officially go on sale until tomorrow, but now a blogger has released the iPhone 12 Pro Max...

iPhone 12 mini Teardown

Yesterday, we reported the teardown of the iPhone 12 pro max released by a Chinese repair company. Today the company released a teardown video of the...

Teardown reveals Huawei Mate 40 RS uses self-developed storage chip

A few days ago, Aio Technology released the teardown video of Mate 40 Pro. Yesterday, they released the teardown video of Mate 40 RS...

Huawei Mate 40 Pro Teardown

On October 23, Aio Technology released the teardown video of the iPhone 12, and now they have released the teardown video of the Mate...

ASUS TUF Gaming A15 FA506IV Disassembly

ASUS TUF Gaming A15 FA506IV is the latest gaming laptop from ASUS, which is equipped with an AMD Ryzen 7 4800H processor and an...

OPPO Find X6 Prototype Unveiled

At last year's spring new product conference, OPPO launched the new OPPO Find X5 series flagship mobile phone, which not only brings a very...

Realme 240W charging technology will be unveiled at the communication meeting on January 5

This afternoon, Realme announced that it will hold a flash charging technology communication meeting on January 5 at 14:30, the realme 240W super charging...

Huawei MateBook X Pro 2022 Review

Chinese manufacturing giant, Huawei, is known for its top-notch smartphone products. However, this company releases laptops that are as good as its smartphones. Recently,...

Lenovo Yoga Slim 7 Pro 16 Review (AMD Ryzen 7 5800H, GeForce RTX 3050)

Lenovo is an established brand in the laptop market and the company has a couple of laptop series for different purposes. The Lenovo Yoga...

Huawei P50 Pocket Foldable Phone Live Photos Leaked

Huawei will hold a new product launch conference on December 23, officially releasing its first vertical foldable mobile phone - Huawei P50 Pocket. Yesterday, Huawei...

Huawei P50 Pocket foldable phone will be released on December 23

This morning, Huawei officially announced that it will hold a winter flagship new product launch conference on December 23. This time it will launch...

Vivo announces OriginOS Ocean will be released on December 9

Today, vivo announced that it will release a new generation of mobile phone operating system OriginOS on December 9. The new version of OriginOS...

Xiaomi 12 gets radio certification in China

According to the latest news, Xiaomi 12 will be released next month, among which the Xiaomi 12 standard version will be released first, and...

Realme Q3s has a 6.6-inch 144Hz LCD screen and supports HDR10

Yesterday, realme announced that the realme Q3s mobile phone will be officially released at 14:00 on October 19th. This product will be equipped with...

Asus Vivobook Pro 14 OLED Review (Intel i5-11300H, Iris Xe)

In the laptop market, thing and light laptops are always desirable. However, high performance is also a feature that the market desires. Nevertheless, a...

TOP AUTHORS

22 POSTS0 COMMENTS
162 POSTS0 COMMENTS
0 POSTS0 COMMENTS
5 POSTS0 COMMENTS
13 POSTS0 COMMENTS
86 POSTS0 COMMENTS
1 POSTS0 COMMENTS

Most Read

iQOO Neo9 Pro Certified with 120W Charging

A few weeks before, iQOO launched its iQOO 12 series, and now it seems that the company is moving forward to launch the successor...

OPPO Reno11 and Reno11 Pro Got Listed on China Telecom with Specs and Renders

In the past few days, it was highly rumored that OPPO is working on the next-generation models of its OPPO Reno series. Even some...

Meizu 21 Appeared on 3C with 80W Charging

In March 2023, Meizu introduced its Meizu 20 series, which was a significant upgrade over the previous flagship models of Meizu. However, the latest...

Mediatek Dimensity 9300 is Officially Coming on November 6

Qualcomm is all set to release its Snapdragon 8 Gen3 in the upcoming Qualcomm Summit 2023, which will start today and end on October...